NORTORG

ПНК-1-01 Подъемник канавный навесной, г/п 3 т

Доступность:
В наличии
134 288
Оплата и получение
Гарантия

Грузоподъемность 3 тонны. Регулируемые упоры, позволяющие поднимать автомобили с различной конфигурацией днища или рамы. Многоуровневая система безопасности. Привод ручной гидравлический с регулируемым усилием на рукоятке насоса. Возможность установки подъемника на обычную осмотровую яму с минимальными строительно-монтажными работами. Перемещение подъемников вручную, усилие перемещения не превышает 15 кг. 

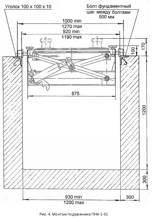
По отдельному заказу подъемник ПНК-1 может быть изготовлен для установки на канаву шириной от 930 до 1100 мм (с обязательным приложением к заказу поперечного разреза канавы). Конструкция основания подъемника ПНК-1-01 предусматривает возможность регулировки в целях установки на канаве шириной от 930 до 1200 мм.

Подъемник ПНК-1 ( см. Рис.1) состоит из рамы 1, перемещающейся по направляющим канавы на подпружиненных роликах 7, корпуса 2, фиксатора 3, гидроцилиндра 4, системы рычагов 5 и насоса ручного гидравлического 6. Неподвижность подъемника в канаве, в рабочем положении, обеспечивается за счёт деформации пружин роликов 7 под весом поднимаемого автомобиля. Подъем корпуса 2 с установленными на нем опорами для подъема автомобиля, осуществляется за счёт выдвижения штока гидроцилиндра 4. Подача масла в поршневую полость гидроцилиндра осуществляется с помощью ручного гидравлического насоса 6. Фиксация корпуса в поднятом положении производится с помощью фиксатора 3. Для освобождения фиксатора при опускании корпуса предназначена рукоятка 8

ТХ (таблица) (Описание) : Грузоподъемность максимальная, т 3 Наибольший ход рабочего механизма, мм 390 Минимальная высота подъема упоров над уровнем пола, мм 110 Габариты канавы, мм Ширина (min) Глубина 930-1200 1200 Габариты подъемника, мм 1000х640х505 Упаковка: вид, кол-во мест, габариты, мм Ящик 1 1320х700х620 Масса нетто, кг 150 Масса брутто, кг 190 Расстояние между подхватывающими элементами (по центру) Min (мм) Max(мм) 150 500

ЗАКАЗ И ОПЛАТА

Свяжитесь с отделом продаж по телефону 8 (8152) 600-017, через WhatsApp , Telegram или оставьте заявку на почту info@nortorg.ru, наши менеджеры дадут исчерпывающую консультацию. После оплаты нужного товара можно забрать оборудование со склада или заказать доставку. 

Заранее ознакомьтесь с подробным описанием товара в каталоге сайта.  Если в наличии не окажется нужного товара, мы проверим все наши склады и предложим Вам максимально подходящий по характеристикам товар. 

ДОСТАВКА

- Самовывоз со склада или отправка через ТК
- Отправляем оборудование всеми известными транспортными компаниями
- БЕСПЛАТНО доставляем товар до терминалов ПЭК и Деловых Линий
- Доставка осуществяется во все регионы РФ, а также в Республику Беларусь и Казахстан
- Мы контролируем все этапы доставки 

- Производим обязательное страхование груза

УДОБСТВА ДЛЯ ВАС

Поставляем оборудование организациям, ИП и частным лицамам. 

Принимаем наличный и безналичный расчет

Работаем с НДС

Продаем в ЛИЗИНГ

Оперативный документооборот по ЭДО

ГАРАНТИЯ

Норторг берет на себя все гарантийные обязательства согласно действующему законодательству РФ и требованиям заводов изготовителей. В некоторых случаях компания оказывает дополнительную поддержку предоставляя клиентам расширенную гарантию - о чем заранее оповещает клиента. Сроки расширенной гарантии могут быть разными, в зависимости от товара.


В случае рекламационной ситуации клиент обращается в службу сервиса компании и фиксирует неисправность. Неисправное оборудование вводится в эксплуатационное состояние на месте, либо направляется к производителю. Сроки замены или ремонта рекламационного изделия при этом регулируются договором поставки (соглашением).

Данные о товарах, представленных на сайте,
не являются публичной офертой.
Подробности о технических характеристиках и составе товаров уточняйте у наших менеджеров,
осуществляющих поддержку по контактам, указанным на странице Контакты.