NORTORG

ПС-10 Подъемник стационарный, 4-х ст, г/п 10т (ТЗ)

Доступность:
В наличии
755 786
Оплата и получение
Гарантия
г/п. 10 тонн. Стационарный. Четырехстоечный. Электромеханический привод червячный через редуктор с концевыми выключателями нажимного действия, ограничивающими ход каретки и многоуровневой системой безопасности. Для подъёма рамных грузовых автомобилей за передний и задний свес рамы. По отдельному заказу комплектуется установочными рамами. Поставляется в 2 вариантах Стандарт (в помещение) и ТЗ (Для эксплуатации на улице)

УСТРОЙСТВО И ПРИНЦИП РАБОТЫ ПОДЪЕМНИКИ ПС-10:

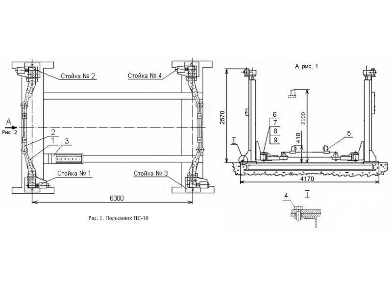
Подъемник состоит из четырех стоек № 1, 2, 3, 4 (см. Рис.), балок поворотных 1 и балок складных 2. Для установки автомобиля в рабочей зоне подъемника предназначен башмак 3. Стойки № 1, 2, 3, 4 подъемника крепятся болтами 4 (см. рис.) к раме, состоящей из двух оснований. Рама забетонирована в пол. Для установки поворотных и складных балок на каретках стоек предназначены оси 6 и осей держатели 7, а также болты и шайбы 8 и 9 для крепления осей держателей. В состав подъемника входит комплект сменных частей 5 с различными подхватами для подъема автомобилей. Стойка состоит из вертикальной колонны, привода подъема и каретки. На стойке № 1 установлен шкаф аппаратный. На стойке № 3 пост управления, на стойках № 2, № 4 коробки клеммные. Колонна представляет собой сварную конструкцию. Привод подъема состоит из электродвигателя, червячного редуктора, соединительных муфт и винта. При вращении винта по нему перемещаются рабочая и страхующая гайки. На рабочую гайку через сферическую шайбу опирается каретка. На каретке закреплен упор (лыжа) для отключения перемещения каретки в крайних верхнем и нижнем положениях, воздействуя на конечные выклюючатели, закрепленные на колонне.

Принцип работы:
Подъем и опускание автомобиля производится с помощью балок, соединяющих попарно каретки стоек № 1 и 2 и стоек № 3 и 4, подведенных под раму автомобиля. Управление подъемником осуществляется из двух мест: со шкафа аппаратного, установленного на стойке № 1 и с поста управления, установленного на стойке № 3. При этом предусмотрено два режима управления: попарное включение электродвигателей (1+2 стойки и 3+4 стойки) и одновременное включение всех 4-х электродвигателей

ТХ (таблица) (Описание) : Модель Стандарт Для эксплуатации на улице Максимальная грузоподъемность, т 10 10 Максимальная высота подъема подхватов от уровня пола, мм 2100 2100 Способ подъема автомобиля за раму за раму Установленная мощность, кВт 6 6 Количество стоек, шт. 4 4 Количество электродвигателей, шт. 4 4 Время подъема на полную высоту, с 160 160 Габариты стойки, мм 375 х 720 х 2930 375 х 720 х 2930 Упаковка: вид Поддон Поддон кол-во мест 2 2 Габариты подъемника (длина×ширина×высота), мм 7000×4050×2930 7000×4050×2930 Масса нетто, кг 2070 2090 Масса брутто, кг 2590 2610

ЗАКАЗ И ОПЛАТА

Свяжитесь с отделом продаж по телефону 8 (8152) 600-017, через WhatsApp , Telegram или оставьте заявку на почту info@nortorg.ru, наши менеджеры дадут исчерпывающую консультацию. После оплаты нужного товара можно забрать оборудование со склада или заказать доставку. 

Заранее ознакомьтесь с подробным описанием товара в каталоге сайта.  Если в наличии не окажется нужного товара, мы проверим все наши склады и предложим Вам максимально подходящий по характеристикам товар. 

ДОСТАВКА

- Самовывоз со склада или отправка через ТК
- Отправляем оборудование всеми известными транспортными компаниями
- БЕСПЛАТНО доставляем товар до терминалов ПЭК и Деловых Линий
- Доставка осуществяется во все регионы РФ, а также в Республику Беларусь и Казахстан
- Мы контролируем все этапы доставки 

- Производим обязательное страхование груза

УДОБСТВА ДЛЯ ВАС

Поставляем оборудование организациям, ИП и частным лицамам. 

Принимаем наличный и безналичный расчет

Работаем с НДС

Продаем в ЛИЗИНГ

Оперативный документооборот по ЭДО

ГАРАНТИЯ

Норторг берет на себя все гарантийные обязательства согласно действующему законодательству РФ и требованиям заводов изготовителей. В некоторых случаях компания оказывает дополнительную поддержку предоставляя клиентам расширенную гарантию - о чем заранее оповещает клиента. Сроки расширенной гарантии могут быть разными, в зависимости от товара.


В случае рекламационной ситуации клиент обращается в службу сервиса компании и фиксирует неисправность. Неисправное оборудование вводится в эксплуатационное состояние на месте, либо направляется к производителю. Сроки замены или ремонта рекламационного изделия при этом регулируются договором поставки (соглашением).

Данные о товарах, представленных на сайте,
не являются публичной офертой.
Подробности о технических характеристиках и составе товаров уточняйте у наших менеджеров,
осуществляющих поддержку по контактам, указанным на странице Контакты.