NORTORG

ПС-16 Подъемник стационарный, 4-х ст, г/п 16т (ТЗ)

Доступность:
В наличии
1 049 400
Оплата и получение
Гарантия
г/п. 16 тонн. Стационарный. Четырехстоечный. Электромеханический привод червячный через редуктор с концевыми выключателями нажимного действия, ограничивающими ход каретки и многоуровневой системой безопасности. Для подъёма рамных грузовых автомобилей за передний и задний свес рамы. По отдельному заказу комплектуется установочными рамами. Поставляется в 2 вариантах Стандарт (в помещение) и ТЗ (Для эксплуатации на улице)

УСТРОЙСТВО И ПРИНЦИП РАБОТЫ ПОДЪЕМНИКИ ПС-16:

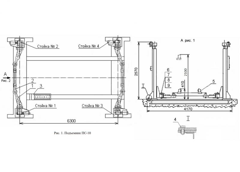
Подъемник состоит из четырех стоек № 1, 2, 3, 4 (см. Рис.), балок поворотных 1 и балок складных 2. Для установки автомобиля в рабочей зоне подъемника предназначен башмак 3. Стойки № 1, 2, 3, 4 подъемника крепятся болтами 4 (см. рис.) к раме, состоящей из двух оснований. Рама забетонирована в пол. Для установки поворотных и складных балок на каретках стоек предназначены оси 6 и осей держатели 7, а также болты и шайбы 8 и 9 для крепления осей держателей. В состав подъемника входит комплект сменных частей 5 с различными подхватами для подъема автомобилей. Стойка состоит из вертикальной колонны, привода подъема и каретки. На стойке № 1 установлен шкаф аппаратный. На стойке № 3 пост управления, на стойках № 2, № 4 коробки клеммные. Колонна представляет собой сварную конструкцию. Привод подъема состоит из электродвигателя, червячного редуктора, соединительных муфт и винта. При вращении винта по нему перемещаются рабочая и страхующая гайки. На рабочую гайку через сферическую шайбу опирается каретка. На каретке закреплен упор (лыжа) для отключения перемещения каретки в крайних верхнем и нижнем положениях, воздействуя на конечные выклюючатели, закрепленные на колонне.

Принцип работы:
Подъем и опускание автомобиля производится с помощью балок, соединяющих попарно каретки стоек № 1 и 2 и стоек № 3 и 4, подведенных под раму автомобиля. Управление подъемником осуществляется из двух мест: со шкафа аппаратного, установленного на стойке № 1 и с поста управления, установленного на стойке № 3. При этом предусмотрено два режима управления: попарное включение электродвигателей (1+2 стойки и 3+4 стойки) и одновременное включение всех 4-х электродвигателей
ТХ (таблица) (Описание) : Стандарт Для эксплуатации на улице Максимальная грузоподъемность, т 16 16 Максимальная высота подъема подхватов от уровня пола, мм 2100 2100 Способ подъема автомобиля за раму за раму Минимальная высота подхватов от уровня пола, мм 410 410 Установленная мощность, кВт 8,8 8,8 Количество стоек, шт. 4 4 Количество электродвигателей, шт. 4 4 Время подъема на полную высоту, с 160 160 Габариты подъемника, мм 7000×4250×2965 7000×4250×2965 Упаковка: вид, кол-во мест, габариты, мм Ящик 2 3400х1100х850 Ящик 2 3400х1100х850 Масса нетто, кг 2550 2570 Масса брутто, кг 3000 3020

ЗАКАЗ И ОПЛАТА

Свяжитесь с отделом продаж по телефону 8 (8152) 600-017, через WhatsApp , Telegram или оставьте заявку на почту info@nortorg.ru, наши менеджеры дадут исчерпывающую консультацию. После оплаты нужного товара можно забрать оборудование со склада или заказать доставку. 

Заранее ознакомьтесь с подробным описанием товара в каталоге сайта.  Если в наличии не окажется нужного товара, мы проверим все наши склады и предложим Вам максимально подходящий по характеристикам товар. 

ДОСТАВКА

- Самовывоз со склада или отправка через ТК
- Отправляем оборудование всеми известными транспортными компаниями
- БЕСПЛАТНО доставляем товар до терминалов ПЭК и Деловых Линий
- Доставка осуществяется во все регионы РФ, а также в Республику Беларусь и Казахстан
- Мы контролируем все этапы доставки 

- Производим обязательное страхование груза

УДОБСТВА ДЛЯ ВАС

Поставляем оборудование организациям, ИП и частным лицамам. 

Принимаем наличный и безналичный расчет

Работаем с НДС

Продаем в ЛИЗИНГ

Оперативный документооборот по ЭДО

ГАРАНТИЯ

Норторг берет на себя все гарантийные обязательства согласно действующему законодательству РФ и требованиям заводов изготовителей. В некоторых случаях компания оказывает дополнительную поддержку предоставляя клиентам расширенную гарантию - о чем заранее оповещает клиента. Сроки расширенной гарантии могут быть разными, в зависимости от товара.


В случае рекламационной ситуации клиент обращается в службу сервиса компании и фиксирует неисправность. Неисправное оборудование вводится в эксплуатационное состояние на месте, либо направляется к производителю. Сроки замены или ремонта рекламационного изделия при этом регулируются договором поставки (соглашением).

Данные о товарах, представленных на сайте,
не являются публичной офертой.
Подробности о технических характеристиках и составе товаров уточняйте у наших менеджеров,
осуществляющих поддержку по контактам, указанным на странице Контакты.